Brake / Shoe line-up C-201
| Model No. | M70R2 | M70R2 | M70T3 | M70T4 | M70CT4 | |
|---|---|---|---|---|---|---|
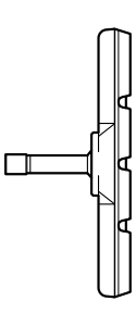
| Brake shoe shape | ||||||
| Cartridge type | ✔ | ✔ | - | - | ✔ | |
| Recommended rim | Aluminum | Aluminum | Alumite only | Aluminum | Aluminum | |
| Characteristics | DRY Power | ★★★★★ | ★★★★★ | ★★☆☆☆ | ★★★★☆ | ★★★★☆ |
| WET Power | ★★☆☆☆ | ★★☆☆☆ | ★★★★★ | ★★★☆☆ | ★★★☆☆ | |
| Silence | ★★☆☆☆ | ★★☆☆☆ | ★★★★★ | ★★★☆☆ | ★★★☆☆ | |
| Anti-fading | ★★★☆☆ | ★★★☆☆ | ★☆☆☆☆ | ★★★☆☆ | ★★★☆☆ | |
| Durability | ★★★★★ | ★★★★★ | ★★★★☆ | ★★★★☆ | ★★★★☆ | |
| Durability | ★★★☆☆ | ★★★★☆ | ★★☆☆☆ | ★★★☆☆ | ★★★★☆ | |
| Anti-rim attack | ★★★☆☆ | ★★★☆☆ | ★☆☆☆☆ | ★★★☆☆ | ★★★☆☆ | |
| - | - | - | Option | Standard | ||
| - | - | - | - | - | ||
| - | - | Option | Option | - | ||
| - | - | - | Option | - | ||
| Model No. | M65T3 | M65T4 | S70C | S70C | S70T | S65T | |
|---|---|---|---|---|---|---|---|
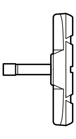
| Brake shoe shape | |||||||
| Cartridge type | - | - | ✔ | ✔ | - | - | |
| Recommended rim | Alumite only | Aluminum | Aluminum | Aluminum | Aluminum | Aluminum | |
| Characteristics | DRY Power | ★★☆☆☆ | ★★★★☆ | ★★★★☆ | ★★★★☆ | ★★★★☆ | ★★★★☆ |
| WET Power | ★★★★★ | ★★★☆☆ | ★★☆☆☆ | ★★☆☆☆ | ★★☆☆☆ | ★★☆☆☆ | |
| Silence | ★★★★★ | ★★★☆☆ | ★★★☆☆ | ★★★☆☆ | ★★★☆☆ | ★★★☆☆ | |
| Anti-fading | ★☆☆☆☆ | ★★★☆☆ | ★★★★★ | ★★★★★ | ★★★★★ | ★★★★★ | |
| Durability | ★★★★☆ | ★★★★☆ | ★★★★☆ | ★★★★☆ | ★★★★☆ | ★★★★☆ | |
| Durability | ★★☆☆☆ | ★★★☆☆ | ★★★☆☆ | ★★★★☆ | ★★★☆☆ | ★★★☆☆ | |
| Anti-rim attack | ★☆☆☆☆ | ★★★☆☆ | ★★★★★ | ★★★★★ | ★★★★★ | ★★★★★ | |
| - | - | Standard | - | Option | - | ||
| Option | Option | - | - | - | Standard | ||
| - | - | Standard | - | - | - | ||
| - | - | - | - | Standard | - | ||
| Model No. | R55C4 | R55C4 | R55C4-A | R55C2 | R55C3 | |
|---|---|---|---|---|---|---|
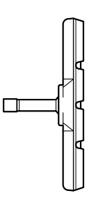
| Brake shoe shape | ||||||
| Cartridge type | ✔ | ✔ | ✔ | ✔ | ✔ | |
| Recommended rim | Aluminum | Carbon | Carbon | Aluminum | Aluminum | |
| Characteristics | DRY Power | ★★★★★ | ★★★★☆ | ★★★★☆ | ★★★★★ | ★★★★★ |
| WET Power | ★★☆☆☆ | ★★★☆☆ | ★★★☆☆ | ★☆☆☆☆ | ★★☆☆☆ | |
| Silence | ★★★★☆ | ★★★☆☆ | ★★★☆☆ | ★★★★☆ | ★★★★☆ | |
| Anti-fading | ★★★★★ | ★★★★★ | ★★★★★ | ★★★★★ | ★★★★★ | |
| Durability | ★★★★★ | ★★★★★ | ★★★★☆ | ★★★★★ | ★★★★★ | |
| Durability | ★★★★★ | ★★★★★ | ★★★★☆ | ★★★★★ | ★★★★★ | |
| Anti-rim attack | ★★★★☆ | ★★★★☆ | ★★★★☆ | ★★★★★ | ★★★★☆ | |
| Standard | Option | Option | - | - | ||
| Standard | Option | Option | - | - | ||
| Standard | Option | Option | - | - | ||
| Standard | Option | Option | - | - | ||
| Standard | Option | Option | - | - | ||
| Standard | Option | Option | - | - | ||
| Standard | Option | Option | - | - | ||
| Standard | Option | Option | - | - | ||
| Standard | Option | Option | - | - | ||
| Standard | Option | Option | - | - | ||
| Standard | Option | Option | - | - | ||
| - | - | - | - | - | ||
| - | - | - | - | - | ||
| - | - | - | - | - | ||
| - | - | - | - | - | ||
| - | - | - | - | Standard | ||
| - | - | - | - | - | ||
| Model No. | R55C+1 | R55CT4 | M50T | R50T | R50T2 | R50T4 | R50T5 | |
|---|---|---|---|---|---|---|---|---|
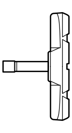
| Brake shoe shape | ||||||||
| Cartridge type | ✔ | ✔ | - | - | - | - | - | |
| Recommended rim | Aluminum | Aluminum | Aluminum | Aluminum | Aluminum | Aluminum | Aluminum | |
| Characteristics | DRY Power | ★★★★☆ | ★★★★☆ | ★★★☆☆ | ★★★★☆ | ★★★★☆ | ★★★★☆ | ★★★★★ |
| WET Power | ★☆☆☆☆ | ★★★☆☆ | ★★★★☆ | ★☆☆☆☆ | ★☆☆☆☆ | ★★★☆☆ | ★★☆☆☆ | |
| Silence | ★★★★☆ | ★★★★☆ | ★★★★★ | ★★★★☆ | ★★★★☆ | ★★★★☆ | ★★★★☆ | |
| Anti-fading | ★★★★★ | ★★★☆☆ | ★★☆☆☆ | ★★★★★ | ★★★★★ | ★★★☆☆ | ★★★★★ | |
| Durability | ★★★★☆ | ★★★★☆ | ★★★★☆ | ★★★★☆ | ★★★★☆ | ★★★★☆ | ★★★★★ | |
| Durability | ★★★☆☆ | ★★★☆☆ | ★★☆☆☆ | ★★★☆☆ | ★★★☆☆ | ★★★☆☆ | ★★★★☆ | |
| Anti-rim attack | ★★★★★ | ★★★☆☆ | ★★☆☆☆ | ★★★★★ | ★★★★★ | ★★★☆☆ | ★★★★☆ | |
| - | Option | - | - | - | - | - | ||
| - | Option | - | - | - | - | - | ||
| - | Option | - | - | - | - | - | ||
| - | Option | - | - | - | - | - | ||
| - | Option | - | - | - | - | - | ||
| - | Option | - | - | - | - | - | ||
| - | Option | - | - | - | - | - | ||
| - | Option | - | - | - | - | - | ||
| - | Option | - | - | - | - | - | ||
| - | Option | - | - | - | - | - | ||
| - | Option | - | - | - | - | - | ||
| - | - | - | - | - | Option | Standard | ||
| - | - | - | - | - | Option | Standard | ||
| - | - | - | - | Standard | Option | Standard | ||
| - | - | - | - | Standard | - | - | ||
| - | Option | - | - | - | - | - | ||
| - | - | - | - | Standard | - | - | ||










